
Die Anwendungsbereiche für BEAMCLAMP Klemmverbindungen sind breit gefächert. Sie reichen vom Stahlhochbau, Haus- und Gebäudetechnik, Förder- und Materialflusstechnik, über die Verfahrenstechnik bis hin zum Hoch- und Tiefbau.
BEAMCLAMP Klemmverbinder und Trägerklemmen vereinen in sich eine Vielzahl technischer Pluspunkte, die ebenso einfache wie schnelle Konstruktionen hoch belastbarer Stahlbau-Lösungen ermöglichen.
Dabei zeigen sich die BEAMCLAMP Klemmverbinder und Trägerklemmen in vielen Fällen traditionellen Befestigungssystemen überlegen. Die Montage kommt völlig ohne Bohr- und Schweißarbeiten aus.
Produktvorteile:
- Korrosionsschutz durch feuerverzinkte Oberflächen
- Gefertigt aus Sphäroguss
- Keine speziellen Werkzeuge und Fachkräfte erforderlich
- Kostengünstige und zeitsparende Montage
- Einfache Justierung vor Ort
- Keine Beschädigung der vorhandenen Oberflächenbeschichtung
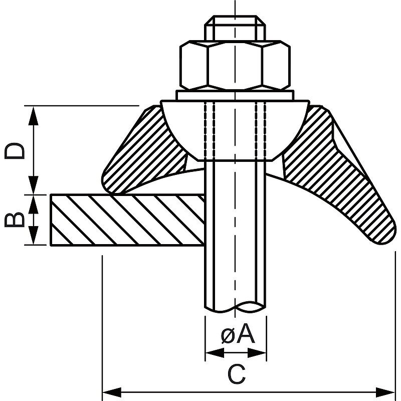
Klemmverbindungen für Stahlträger
Berechnungsprogramm für Ihre Anwendung finden Sie unter www.beamclamp.de/configurator
Lieferumfang:
Klemmverbinder BK ohne Zubehör.
- Artikelnr.
- 104480036
- Basiseinheit
- ST (C62)
- Preis pro
- 5 ST
