← Zurück zur Liste

- Modulsystem KFV ONE (ONE Size, ONE Quality, ONE Workflow)
- massive Rundbolzen gegen Aushebeln
- 2 konisch zulaufende Stahlschwenkhaken gegen Auseinanderdrücken
- gehärtete Stahlelemente für hohe Festigkeit
- aufsägegeschützter Hauptschlossriegel gegen gewaltsamen Zugriff
- Softlockfalle
- kraftvoll anziehendes Getriebe für hohen Dichtschluss
- DIN links/rechts verwendbar
- ONE Size: einheitliche Fräsungen und Anschraubpositionen in allen Varianten
- ONE Quality: leichtgängigkeit und dank schmalstem Schlosskasten auch bei 16 mm Stulp ein perfektes Design
- ONE Workflow: konsequent modularer Aufbau für mehr Produktivität und Prozesssicherheit
Ausführung Rastermaß: B001
Prüfe Verfügbarkeit...
- Artikelnr.
- 102273476
- Basiseinheit
- ST (C62)
- Preis pro
- 1 ST
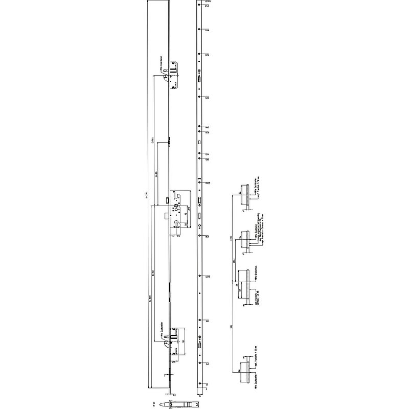
KFV MFV-Schloss BS 2600 DIN, DM 35, U-Stulp 24 x 6,3 mm, silber verzinkt
Schlüsselweite
BS 2600 DIN
2 kombinierte Bolzen-Schwenkhaken
Stahl silber verzinkt
U-Stulp eckig
Stulp (L x B x S)
2170 x 24 x 6,3 mm
Dornmaß
35 mm
Kastenbreite
52,5 mm
Nuss
8 mm
Entfernung
PZ 92 mm
Kategorien
Tags
Mehrfachverriegelungsschloss BS 2600 DIN, U-Stulp
